It’s pretty wild that you spend so much money on an Apple device only to have the cable that’s meant to charge the thing fray like a cheap piece of plastic bought from the kiosk on the corner of your street. If a new patent is to be believed, Tim Cook is actually doing something about his company’s shoddy cables. The filed paperwork suggests that Apple is in the process of developing a “Cable with Variable Stiffness” which should hopefully eliminate the fraying that renders so many cables nearly unusable after a year.
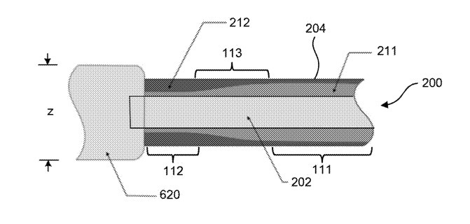
We can thank AppleInsider for picking up on the patent which details how the cable would function, although from the sounds of it Apple hasn’t exactly nailed down the final design. The general idea is to give the length of the cable different points of stiffness while not making any one part of it any thicker than another part. In doing so, it will be able to discard the “strain relief sleeve” that fits on either end of the cable, which is usually the part that breaks sooner than the rest.

It’s all about the Apple’s core…
In making varying points of the cable stiffer, Apple believes that it will be able to remove any excess strain placed on the relief sleeve and improve the longevity of the cable itself. However, it is always worth mentioning when discussing patents that there’s no promise this will see the light of day; Apple might just want to sit on it in the event that it ever wants to go about saving consumers the time and money it costs to be a new charging cable.
It’s not difficult to imagine how the marketing team could spin this for future products though; one can see a future where Apple doesn’t ship their devices with cables, providing the excuse that it’s better for the environment and that everyone still has their old cable. It did it with the charging blocks for the iPhone 12 last year… who’s saying they won’t do it again?




