Once upon a time, a too-hard puzzle (or that Driver tutorial) might’ve been enough to stump you, possibly for the rest of time. That was until the internet came along, offering guides and tutorials that still left the player in the driver’s seat. Sony plans to retire those ideas, having recently patented AI-powered in-game ‘ghost players’ that just show you how to beat the game. Or rather, the bits you’re struggling with.
If you thought Atreus piping up every five seconds with a hint was bad…
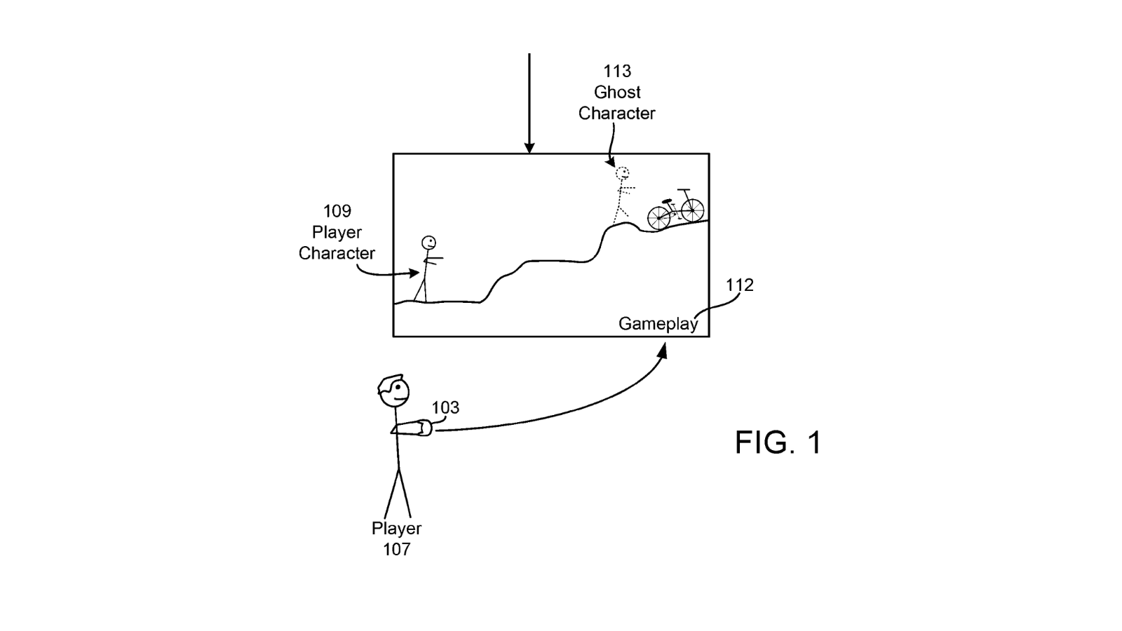
The ghost in the machine
VGC was the first to spot the patent, which reads:
“Methods and systems are provided for providing a player with assistance during gameplay of a video game is provided. The method includes executing a video game for a game session. The player controls a player character during the game session… The assistance Al engine operates to provide ghost assistance to the player in accordance with a mode setting. The ghost assistance is provided via a ghost character.”
If, for example, you were having trouble finding out where to go in Hollow Knight: Silksong, the player could summon an AI-powered ‘ghost player’ that mimics the player character — Hornet, in this case. The ghost could then demonstrate the solution to a particular puzzle until the player’s brain begins firing neurons again.
If the player feels the current implementation, also known as “Guide Mode”, still isn’t working out, the patent suggests that a “Complete Mode” also exists, which does exactly what it sounds like — plays the game for you. It begs the question of why the player, or in this case, the observer, is even “playing” the game in the first place.
Read More: Sony Honda Mobility’s Afeela EV will support PlayStation remote play
“Although video game technology has seen many advances, some players find themselves in need of assistance. Games become very complicated, so players who are not experts oftentimes quit playing or find it hard to complete tasks,” Sony’s description reads. “Players are able to do research for the game or even lookup prior gameplays on internet sites, but that process is time consuming and many times not very relevant to tasks and/or scenarios currently being encountered by the player.”
The goal is for the AI assistance system to learn the ropes by watching pre-existing footage of the game, rather than the developer recording a series of inputs. It wouldn’t be that artificially intelligent then, would it? It mimics Microsoft’s Copilot for Gaming, which watches the player’s screen to offer tips on how to play.
It’s worth mentioning that Sony simply owning the patent doesn’t mean it’ll be employed right away, if ever. Most companies lay claim to an idea only to sit on it for years, to stop competitors from nabbing it first. Still, Sony’s recent infatuation with ‘Game Help’ tutorials indicates that we’ll see some form of AI assistant on PlayStation eventually.





